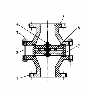
阻火器的工作方式及原理圖
2020-09-22 關注次數:阻火器應防止外部火焰進入包含氣體和石油的儲罐或管道。防止火焰在設備內部和管道之間蔓延。防火裝置有各種類型,例如儲罐防火裝置和防爆管道防火裝置。設計和制造儲罐火焰防護裝置的原理是,當火焰穿過導熱體的細孔時,火焰會因熱量損失而熄滅。用于儲罐火焰防護器的阻燃結構有礫石,絲網或瓦楞紙類型。防爆阻火器可防止氣體和液體火焰擴散,并防止由于回火而產生回火裝置。
防爆阻火器通常安裝在運輸或排出氣體的儲罐和管道中。火炬,加熱和燃燒系統,油氣回收系統或其他氣體系統。由于應用環境,對避雷器的設計要求也非常嚴格。外殼本身的材料要求相對嚴格,通常是鋁合金,不銹鋼,鑄鐵和其他介質,并且尺寸應根據指定的標準安裝。在制造過程中,外殼上使用的鑄件不得損壞,破裂或在沙子上有孔。問題在于這種鑄件會影響使用的影響。
在制造殼體的過程中,須按照規定進行液壓測試,并且可以在認證后使用。阻火器的波紋結構按照規定用鋼帶處理,因此條帶須光亮且無灰塵和油污。防火墻孔的大小應均勻并均勻分布。換句話說,它需要取消阻塞。由于炮彈內部的防火墻無法搖動,因此須將接觸面緊密結合,并在組裝完成后根據需要執行耐火性測試。
阻火器的工作原理:阻火器由許多小的均勻或不均勻的通道或細孔組成,這些通道或細孔允許氣體通過。這些通道或孔的要求通過火焰盡可能小。火焰進入火焰防護罩后,被分成許多小火焰流并熄滅。可以撲滅火焰的機制是傳熱和壁效應。傳熱:防止火焰蔓延并強制熄滅火焰的因素之一是傳熱。火焰防護裝置由許多小通道或小孔組成,當火焰進入這些小通道時,會形成許多小火焰流。
通道或孔的傳熱面積大,火焰通道壁熱交換后溫度下降,火焰在某種程度上被熄滅。測試表明,當阻火器材料的熱導率增加460倍時,滅火直徑僅變化2.6%。這表明實質性問題是次要的。因此,傳熱是熄滅火焰的原因,但不是主要原因。但是,選擇材料時須考慮機械強度和耐腐蝕性。
阻火器原理圖


相關文章
-
高溫球閥的特點簡介
高溫球閥其特征在于:閥座密封圈由軟丁字密封圈兩側的多層不銹鋼片組成。高溫球閥的閥板與閥座之間的密...
-
呼吸閥的分類與保養方法
呼吸閥廣泛應用于工業生產中,由壓力閥和真空閥兩部分構成,可安裝于貨油艙透氣管上,隨著艙內油氣正負...
-
量油孔的使用效果是什么?
量油孔是化工行業 的一個器件,大家知道量油孔的效果是什么嘛?接下來正禾小編向大家講解一下量油孔的...
-
呼吸閥的原理、功能及安裝要點
呼吸閥是現在化工產業重要的器件,它既保持了油罐壓力平衡又減少了揮發損耗。那大家知道呼吸閥的原理、...
-
Q41F不銹鋼球閥工作原理和作用
大家對Q41F不銹鋼球閥可能是挺陌生的,它是不銹鋼球閥中的一種。對球閥經過不斷的改進后出來的類型,那Q...
-
管道阻火器的安裝保養與維修
阻火器是管道使用安全的保障,阻火器的使用是安全生產的前提,也是生產工人生命安全的重要護盾。今天,...

